Volver

Cuarto de baño accesible

03 - 12 - 2021

Consideraciones a tener en cuenta para realizar un cuarto de baño accesible en la vivienda.

Aunque las características mínimas de accesibilidad que debe tener un cuarto de baño accesible se especifican en el Documento Básico de Seguridad de Utilización y Accesibilidad de Código Técnico de la Edificación (DB SUA CTE), la adecuación en la vivienda se debe realizar de acuerdo a las características concretas del usuario.

A continuación se detallan algunos aspectos que deberemos tener en cuenta:

¿Cómo debe ser el acceso?

La puerta debe contar con espacio suficiente para el acercamiento y uso de la misma, este hecho es muy importante en el caso de usuarios de silla de ruedas o andadores para facilitar la aproximación (al menos debe contar con un espacio que permita la inscripción de un círculo de 120 cm a ambos lados de la puerta y se debe separa la manilla al menos 30 cm de otro paramento -encuentro en rincón-). Debe permitir la entrada del usuario con facilidad, el CTE exige un hueco de paso libre de al menos 80 cm, y debe ser preferiblemente corredera o de apertura hacia el exterior del recinto, de forma que en caso de necesidad se pueda abrir con facilidad.

La manilla debe ser preferiblemente en forma de “U”, fácilmente manipulable con el antebrazo o dorso de la mano y evitando la utilización de pomos u otros sistemas que necesiten la realización de varias acciones a la vez (aprensión y giro por ejemplo). Se debe evitar la utilización de pestillos de difícil manejo y que no permitan su apertura desde el exterior en caso de emergencia.

¿Qué características debe tener su interior?

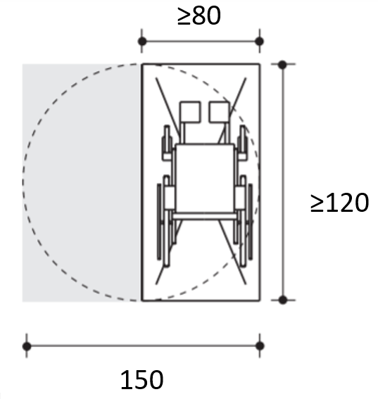
El cuarto de baño debe permitir la inscripción en su interior de un círculo de 120-150 cm si el usuario utiliza silla de ruedas o se necesita una grúa para su traslado, y en cualquier caso, debe permitir la deambulación y uso de todos los aparatos de forma cómoda y segura.

¿Qué características tienen que tener los aparatos sanitarios utilizados?

En el inodoro hay que garantizar espacio suficiente para el acercamiento, en caso de utilización de silla de ruedas para poder realizar la transferencia, o para tener la posibilidad de recibir ayuda de una tercera persona. Este espacio libre debe permitir la colocación de la silla, bien lateral o frontal al inodoro –esto dependerá del usuario- y tendrá al menos 80 cm de ancho y 120 cm de fondo. La altura del plano de asiento debe permitir al usuario posar los pies en el suelo y si es usuario de silla de ruedas, conviene igualar su altura al plano de asiento de esta (normalmente entre 45 – 50 cm). Si se va a utilizar desde una silla de ducha, el inodoro puede ser convencional y solo requiere espacio frontal para acceder al mismo.

Es conveniente instalar barras de apoyo horizontales a ambos lados del inodoro que ayuden al usuario a levantarse o a realizar la transferencia (paso desde la silla de ruedas al inodoro y viceversa); debe ser plegable la del lado por el que se realice la transferencia, firmemente ancladas (al menos soportarán una fuerza de 1 kN en cualquier dirección), fáciles de asir, con una sección circular de diámetro 30-40 mm o equivalente, la barra más cerca de la pared debe dejar 45-55 mm hasta esta. Se colocarán centradas con el inodoro y separadas entre sí 65-70 cm, a la altura del codo en la posición de sentados en el inodoro (normalmente 70-75 cm) y con una longitud de al menos 70cm. Se pueden utilizar otro tipo de barras de apoyo que se ajusten específicamente a las necesidades del usuario si se consideran más cómodas. Conviene utilizar un accesorio en la barra de apoyo que permita la colocación del papel higiénico para garantizar el alcance desde la posición de sentado.

Es recomendable, e indispensable en caso de usuario de silla de ruedas, que el lavabo permita su uso desde la posición de sentado (para ello debe tener un espacio libre inferior mínimo de 80 cm de ancho, 70 cm de alto y al menos en 50 cm de profundidad) por lo que no tendrá pedestal ni mueble inferior. La altura de la cara superior del lavabo en este caso se situará ≤ 85 cm respecto del suelo, en caso de usuarios de silla de ruedas conviene colocar un lavabo con escotadura delantera que facilita el acercamiento frontal. La grifería conviene que sea de fácil manejo con una sola mano (monomando) y estar dentro de la zona de alcance < 60 cm del borde del lavabo. En caso de usuarios con poca sensibilidad en los miembros inferiores, conviene aislar térmicamente las conducciones de abastecimiento y desagüe o regular la temperatura máxima del agua para evitar escaldaduras accidentales. La regulación se puede realizar en el propio calentador/caldera o utilizando una válvula o grifería termostática.

Imagen usuario silla de ruedas accediendo a lavabo

Conviene colocar espejos que permitan su uso tanto a personas sentadas como de pie, para lo que debe tener colocada la altura del borde inferior a ≤ 90 cm del suelo y cubrir hasta una altura de 210 cm.

La ducha debe estar preferiblemente enrasada con el pavimento circundante (imprescindible para personas usuarias de silla de ruedas) y con una pendiente de evacuación ≤ 2%, permitirá su utilización desde la posición de sentado (pudiendo utilizar un asiento fijo abatible, portátil o silla de ducha según las necesidades) por lo que su dimensión debe ser de al menos 80 x 120 cm; si se utiliza silla de ruedas, se dispondrá de espacio de transferencia lateral de anchura ≥ 80 cm en un lado del asiento. El asiento tendrá una dimensión suficiente para que el usuario pueda utilizarlo con comodidad (de 40 x 40 (profundidad x anchura) x 45-50 cm (altura), según el CTE) y se recomienda que cuente con respaldo y reposabrazos, situando la grifería en una zona de fácil alcance desde esta posición. Para dar mayor seguridad al usuario o como ayuda para la realización de transferencias, conviene dotar a la zona de ducha en el lado del asiento, de barras de apoyo horizontal de forma perimetral en al menos dos paredes que formen esquina y una barra vertical en la pared a 60 cm de la esquina o del respaldo del asiento que sirve de apoyo al movimiento de girar y levantarse, colocada por delante del asiento en la pared lateral al mismo, para su alcance desde el asiento.

Imagen silla de ruedas medidas

Imagen de plano baño accesible

El pavimento del cuarto de baño debe ser no deslizante, al menos Clase 2 según el CTE, y de Clase3 en la zona de la ducha si está pavimentada.

Para contener el agua se puede optar por una mampara que no necesite perfil inferior siempre y cuando no interfiera en la movilidad del usuario dentro del cuarto de baño. Si se necesita ayuda de una tercera persona, la mampara puede estar dividida en dos partes para facilitar al asistente el acercamiento sin mojarse, aunque la posición del mismo es poco ergonómica ya que la mampara no permite el acercamiento de los pies. Otra opción puede ser la utilización de cortinas o estores resistentes al agua y lastrados en su parte inferior para que mantengan la verticalidad.

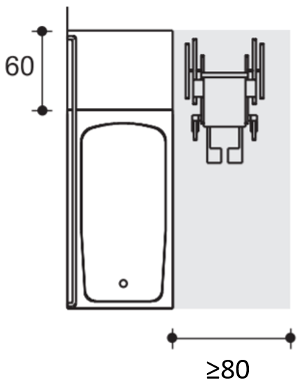
Si se desea mantener la bañera, habrá que facilitar la maniobra de acceso a la misma, bien colocando un peldaño que reduzca la altura a salvar acompañado de una barra de apoyo vertical de apoyo para entrar y salir con seguridad; bien utilizando un asiento giratorio o elevable colocado en el interior de la bañera que permita al usuario acceder sentándose previamente. Los usuarios de silla de ruedas pueden utilizar tablas de transferencia o poyetes acompañados de barras de apoyo colocadas perimetralmente en la bañera, que les ayuden en la realización de la transferencia, en este caso habrá que garantizar un espacio libre de acercamiento para la silla de ruedas en el lateral de la bañera.

Imagen bañera y silla accesibleImagen de bañera accesible

Los mecanismos y accesorios deben ser fáciles de manipular con una mano y estar colocados entre 70 – 120 cm de altura.

lunes, 21 noviembre 2022 11:14

MÁS ARTÍCULOS

Publicador de contenidos

Etiquetas

martes, 29 noviembre 2022 12:13

Cargando...
Cargando...

Cargando...

Visítanos

Entradas recientes

martes, 20 septiembre 2022 09:25

Servicios